1. 您是否有跨境电商运营经验?
2. 有几年跨境经验?
3. 您主要运营哪些平台?【多选】
4. 您的经营模式?【多选】
5. 您主要销售国家为?【多选】
6. 您来指纹主要寻找哪些商品品类?【多选】
旺季爆款推荐
热卖主题推荐
1对1咨询
注册享免费拿样
AI助手小Hi 帮您总结
更新时间:2022-08-03 16:25:06
若您已在指纹平台授权或添加了自己的Wish店铺(点击了解如何授权或新增Wish店铺),则可以授权Wish邮。下文将就具体操作展开说明:
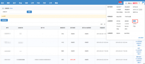
1、登陆指纹商户后台,下拉账户右侧菜单栏,点击【店铺管理】版块中的“Wish”选项,进入店铺管理页面。

2、点击店铺详情最右侧的“Wish邮授权”进入Wish邮商户后台页面。

3、输入您的账户密码登入后台后,页面将显示指纹平台的数据访问权限许可,点击“接受”并再次确认即可。



4、完成上述操作后返回商户后台Wish店铺管理页面,页面显示授权成功提示即可。

温馨提示:授权Wish邮需要商户在Wish后台完成实名认证后才可操作。